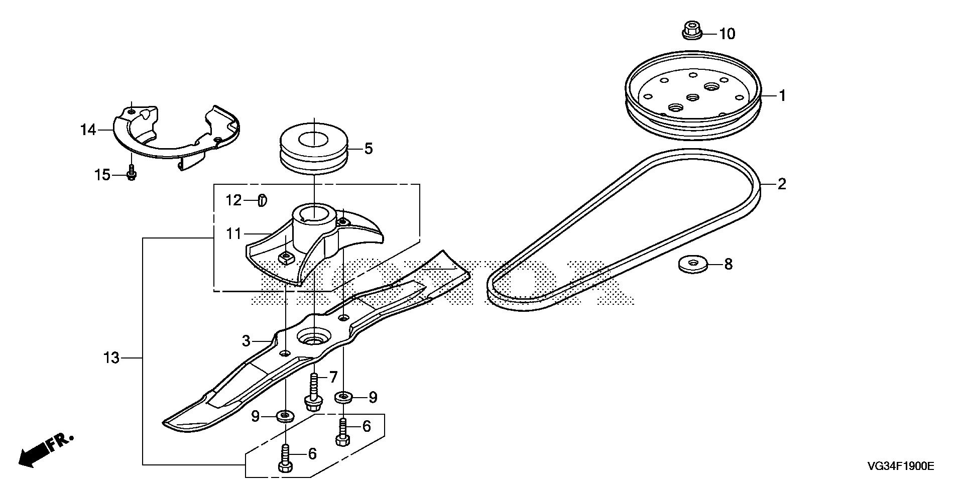
Lawn Mowers HRS HRS216 HRS216 PDA MZBZ-6000001-6099999 ROTARY BLADE@DRIVEN PULLEY - Budke PowerSports

Ref No
Part Number
Description
Serial Range
Qty
Price

Ref No
3
Part Number
72511-VG3-000
Description
BLADE, ROTARY
Serial Range
1000001 - 9999999

Ref No
6
Part Number
90105-960-710
Description
BOLT, HEX. (10X20)
Serial Range
1000001 - 9999999
Qty
Price
$1.96

Ref No
6
Part Number
90105-VA3-J01
Description
BOLT, HEX. (10X25)
Serial Range
1000001 - 9999999

Ref No
7
Part Number
90109-VG3-000
Description
BOLT, FLANGE (3/8-24X1")
Serial Range
1000001 - 9999999
Qty
Price
$1.00

Ref No
9
Part Number
90502-VG3-000
Description
WASHER, SPRING (10MM)
Serial Range
1000001 - 9999999
Qty
Price
$1.18

Ref No
12
Part Number
90751-VG3-000
Description
KEY, WOODRUFF (3/16X5/8)
Serial Range
1000001 - 9999999
Qty
Price
$0.40

Ref No
13
Part Number
06726-VG3-305
Description
HOLDER KIT, BLADE
Serial Range
1000001 - 9999999
Qty
Price
$88.16