Generators EU EU3200 EU3200I AN2 EBKJ-1000001-9999999 LABEL - Budke PowerSports

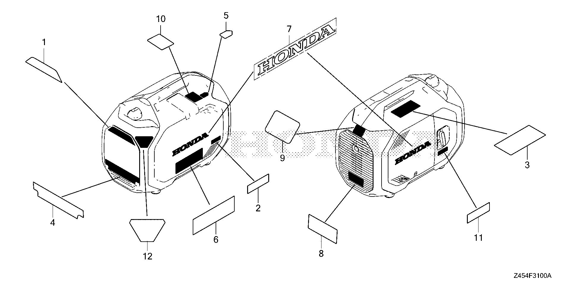
Ref No
Part Number
Description
Serial Range
Qty
Price

Ref No
1
Part Number
87101-Z45-A30
Description
MARK, EMBLEM (EU3200I)
Serial Range
1023568 - 9999999
Qty
Price
$8.60

Ref No
2
Part Number
87114-ZT6-J20
Description
LABEL, WARNING
Serial Range
1000001 - 9999999
Qty
Price
$4.10

Ref No
3
Part Number
87561-Z45-A30
Description
MARK, CO CAUTION
Serial Range
1000001 - 9999999
Qty
Price
$10.68

Ref No
5
Part Number
87178-Z45-A30
Description
MARK, DIRECTION
Serial Range
1000001 - 9999999
Qty
Price
$2.66

Ref No
6
Part Number
87516-Z45-A30
Description
LABEL, OPERATOR WARNING
Serial Range
1000001 - 9999999
Qty
Price
$15.36

Ref No
7
Part Number
87531-Z45-000
Description
MARK, HONDA
Serial Range
1000001 - 9999999
Qty
Price
$18.74

Ref No
8
Part Number
87539-Z45-A30
Description
LABEL, EX. WARNING
Serial Range
1000001 - 9999999
Qty
Price
$5.52

Ref No
9
Part Number
87542-Z45-000
Description
MARK, EX. CAUTION
Serial Range
1000001 - 9999999
Qty
Price
$2.38

Ref No
12
Part Number
87545-Z45-L30
Description
LABEL, SHUTOFF CAUTION
Serial Range
1000001 - 9999999