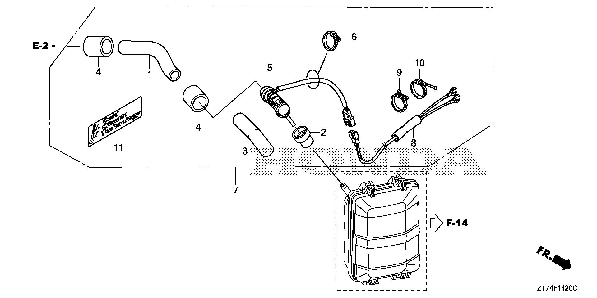
Generators EU EU3000 EU3000IS1 AG EZGF-1800001-9999999 BREATHER HEATER - Budke PowerSports

Ref No
Part Number
Description
Serial Range
Qty
Price

Ref No
1
Part Number
15721-ZS9-T40
Description
TUBE A, BREATHER
Serial Range
1000001 - 9999999
Qty
Price
$7.10

Ref No
2
Part Number
15722-ZS9-T40
Description
TUBE B, BREATHER
Serial Range
1000001 - 9999999
Qty
Price
$3.90

Ref No
3
Part Number
15723-ZS9-T41
Description
INSULATOR L, BREATHER TUBE
Serial Range
1000001 - 9999999
Qty
Price
$18.40

Ref No
4
Part Number
15724-ZS9-T40
Description
INSULATOR, BREATHER TUBE
Serial Range
1000001 - 9999999
Qty
Price
$16.28

Ref No
5
Part Number
39310-ZS9-A42
Description
HEATER ASSY., BREATHER
Serial Range
1000001 - 9999999
Qty
Price
$233.38

Ref No
6
Part Number
91560-Z38-R20
Description
BAND, HARNESS
Serial Range
1000001 - 9999999
Qty
Price
$1.18

Ref No
7
Part Number
06390-ZS9-W30
Description
HEATER KIT, BREATHER (AG)
Serial Range
1000001 - 9999999
Qty
Price
$132.96

Ref No
8
Part Number
32198-ZS9-T20
Description
SUB-WIRE ASSY.
Serial Range
1000001 - 9999999
Qty
Price
$41.00

Ref No
9
Part Number
90672-ZB4-003
Description
TIE, CABLE
Serial Range
1000001 - 9999999
Qty
Price
$5.76

Ref No
10
Part Number
90672-ZB7-811
Description
TIE, CABLE (NATURAL 154X3.4)
Serial Range
1000001 - 9999999
Qty
Price
$4.36

Ref No
11
Part Number
87603-Z07-R10
Description
MARK (CCT)
Serial Range
1000001 - 9999999
Qty
Price
$2.02